1996 ford fuse box

Where Is The Fuse Box On A 2004 Ford F150 | Fuse Box And Wiring Diagram. 16 Pictures about Where Is The Fuse Box On A 2004 Ford F150 | Fuse Box And Wiring Diagram : Fuse box diagram Ford Aerostar and relay with assignment and location, Ford Mondeo MK2 (1996-2000) Fuse Box Diagrams - YouTube and also 2004 SEBRING FUSE BOX DIAGRAM UNDER HOOD - Auto Electrical Wiring Diagram.

Where Is The Fuse Box On A 2004 Ford F150 | Fuse Box And Wiring Diagram

Where Is The Fuse Box On A 2004 Ford F150 | Fuse Box And Wiring Diagram stickerdeals.net

fuse f150 diagram ford box 2004 panel 150 1995 1996 wiring 1978 where xlt layout engine f350 f250 pertaining 2008

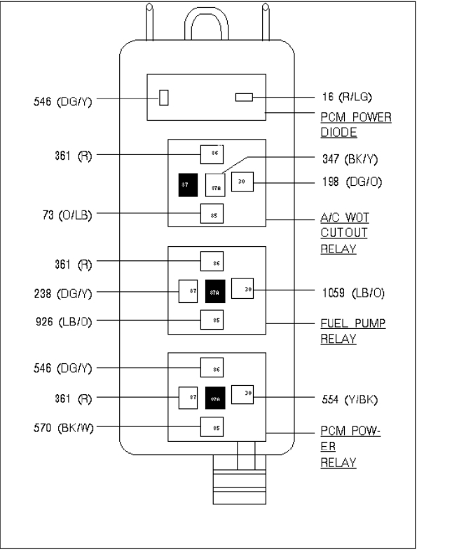
HowToRepairGuide.com: December 2012

HowToRepairGuide.com: December 2012 www.howtorepairguide.com

fuse ford panel remove box 1997 f150 expedition dash instrument connectors under heater core bulkhead replace come does 4x4 removal

Pin On Ford

Pin on ford www.pinterest.com

fuse f150 diagram ford box 1999 2004 150 2008 2000 2002 wiring panel under where relay fx4 fuses diagrams power

Ford Mondeo MK2 (1996-2000) Fuse Box Diagrams - YouTube

Ford Mondeo MK2 (1996-2000) Fuse Box Diagrams - YouTube www.youtube.com

mondeo

2004 SEBRING FUSE BOX DIAGRAM UNDER HOOD - Auto Electrical Wiring Diagram

2004 SEBRING FUSE BOX DIAGRAM UNDER HOOD - Auto Electrical Wiring Diagram gedong.herokuapp.com

4300 f550 vt365 sebring cranking dt466 superduty

2000 Ford Fuse Box Diagram - Cars Wiring Diagram Blog

2000 Ford Fuse Box Diagram - Cars Wiring Diagram Blog wiringdiagram-blog.blogspot.com

navigator

Fuse Box - Ford Truck Enthusiasts Forums

Fuse Box - Ford Truck Enthusiasts Forums www.ford-trucks.com

fuse box

Ford Explorer (1996-2001)

Ford Explorer (1996-2001) www.pinterest.com

fuses diagrama fusibles fuel relays fusecheck compartment carknowledge b3000 instrument washer

Fuse Box: I Have Looked All Over The Internet And Can Not Find Any...

Fuse Box: I Have Looked All Over the Internet and Can Not Find any... www.2carpros.com

1996 Mustang Cigarette Lighter Fuse Locale - Ford Mustang Forum

1996 Mustang Cigarette Lighter Fuse Locale - Ford Mustang Forum www.allfordmustangs.com

mustang fuse cigarette lighter 1996 locale

Fuse Box Really Located Here? - Ford Truck Enthusiasts Forums

Fuse box really located here? - Ford Truck Enthusiasts Forums www.ford-trucks.com

fuse

Fuse Box Wiring Diagram - Page 6 - Ford Truck Enthusiasts Forums

Fuse Box Wiring Diagram - Page 6 - Ford Truck Enthusiasts Forums www.ford-trucks.com

Fuse Box Wiring Diagram - Page 5 - Ford Truck Enthusiasts Forums

Fuse Box Wiring Diagram - Page 5 - Ford Truck Enthusiasts Forums www.ford-trucks.com

fuse

1995 Ford E 150 Van Power Distribution Box - Fixya

1995 ford e 150 van power distribution box - Fixya www.fixya.com

fuse 1995 ford e150 box 1996 diagram underhood power breaker circuit distribution parking lights location block fixya carfusebox

Fuse Box Diagram Ford Aerostar And Relay With Assignment And Location

Fuse box diagram Ford Aerostar and relay with assignment and location fuseandrelay.com

aerostar fuseandrelay

Fuse Box Wiring Diagram - Ford Truck Enthusiasts Forums

Fuse Box Wiring Diagram - Ford Truck Enthusiasts Forums www.ford-trucks.com

fuse diagram box wiring ford

Fuses diagrama fusibles fuel relays fusecheck compartment carknowledge b3000 instrument washer. Howtorepairguide.com: december 2012. Where is the fuse box on a 2004 ford f150